Клапан регулирующий трехходовой Danfoss VF3
- 26/12/2014 10:49
- Украина, Киев и область
- Отопление
- Продам, предлагаю - частное лицо
Клапан регулирующий трехходовой Danfoss VF3 используется в системах тепло- и холодоснабжения зданий. В качестве регулируемой среды может быть использован 50% водный раствор гликоля.
Характеристики трехходового регулирующего клапана Danfoss VF3:
Условный проход: Ду = 15–150 мм;
Условное давление: Ру = 16 бар;
Регулируемая среда: вода или 50% водный раствор гликоля;
Пропускная способность: Kvs = 0, 63–320 м3/ч;
Присоединение к трубопроводу: фланцевое;
Температура регулируемой среды: 2 (-10)*–150 °С (130 °С — для сочетаний клапана VF3
c приводом AMV(E)435; 2 (-10)*–200 °С — для VF3 Ду = 125–150 мм)
* (При температуре от -10 до 2 °С требуется подогреватель штока).
Клапан седельный Danfoss VF3 для применения с приводами:
- AMV(E) 435 — Ду = 15–80 мм (до 130 °С),
- AMV(E) 438SU — Ду = 15–50 мм,
- AMV(E) 85 и AMV(E) 86 — Ду = 125–150 мм,
- AMV 423 и AMV 523 — Ду = 100 мм.
Соответствие стандартам: Директива ЕС по оборудованию, работающему под давлением, 97/23/EC.
Монтаж клапана Danfoss VF3
Перед монтажом нужна промывка трубопроводной системы, разместить соединительные элементы трубопровода и клапана на одной оси, защитить клапан от напряжений со стороны трубопровода. Также нужно убедиться, что направление движения регулируемой среды совпадало с направлением, указанным на его корпусе: всегда от входа А (у проходных клапанов) или от входов А и В (для трехходовых клапанов) к выходу АВ.
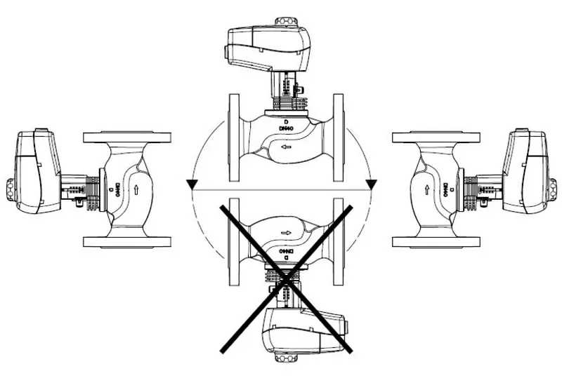
Положение клапана Danfoss VF3
Клапан может быть установлен в любом положении, кроме электроприводом вниз. Необходимо обеспечить свободное пространство вокруг клапана с приводом для их демонтажа и обслуживания. Клапан и привод запрещается размещать во взрывоопасных помещениях. Температура окружающего воздуха при монтаже и эксплуатации клапана должна быть в диапазоне 2–50 °С. Электропривод может быть повернут вокруг оси штока клапана в удобное для обслуживания положение (на 360°), после чего он должен быть зафиксирован на клапане стопорными винтами.
Потоки клапана
Трехходовой клапан может быть использован только для смешения потоков, т. е. должен иметь два входа и один выход. Для разделения потоков клапан следует установить на обратном трубопроводе. При установке насоса непосредственно перед входным патрубком клапана А возможны возникновение гидроударов и, как следствие, перегрузка привода.








